«上一篇
文章快速检索     高级检索
下一篇»
  雷达学报  2016, Vol. 5 Issue (6): 607-619  DOI: 10.12000/JR16083
0

引用本文  

计科峰, 王海波, 冷祥光, 等 . 星载简缩极化SAR船舶目标检测技术研究[J]. 雷达学报, 2016, 5(6): 607-619. DOI: 10.12000/JR16083.
Ji Kefeng, Wang Haibo, Leng Xiangguang, et al . Spaceborne compact polarimetric synthetic aperture radar for ship detection[J]. Journal of Radars, 2016, 5(6): 607-619. DOI: 10.12000/JR16083.

基金项目

国家自然科学基金(61372163,61331015,61601035)

通信作者

计科峰(1974-), 男, 陕西长武人, 博士, 国防科学技术大学副教授, 硕士生导师, 主要研究方向为SAR图像处理、判读解译、目标识别及海洋监视应用。E-mail:jikefeng@nudt.edu.cn

作者简介

王海波(1982-), 男, 山东青州人, 2016年毕业于国防科学技术大学电子与通信工程领域, 获得工程硕士学位, 主要研究方向为遥感信息处理。E-mail:wjmsn@qq.com;
冷祥光(1991-), 男, 江西修水人, 2015年毕业于国防科学技术大学摄影测量与遥感专业, 获得工学硕士学位, 现在攻读博士学位, 主要研究方向为遥感信息处理。E-mail:luckight@163.com

文章历史

收稿日期:2016-07-01
改回日期:2016-11-01
网络出版:2016-11-30
星载简缩极化SAR船舶目标检测技术研究
计科峰, 王海波①,②, 冷祥光, 邢相薇, 康利鸿    
(国防科学技术大学电子科学与工程学院 长沙 410073)
(武警湖北总队第一支队 武汉 430071)
(北京遥感信息研究所 北京 100092)
摘要:作为一种新兴的星载极化SAR系统,星载简缩极化(Compact Polarimetric)SAR能同时获取目标较丰富的极化信息和实现大幅宽观测,在海洋观测领域具有先天的优势。该文针对星载简缩极化SAR海上船舶目标检测应用,首先简要介绍了星载简缩极化SAR系统基本模式及发展,其次综述了典型的星载简缩极化SAR信息处理方法,在此基础上,重点分析比较了目前常用的星载简缩极化SAR船舶目标检测方法的特点,然后给出了作者研究小组在星载简缩极化SAR船舶目标检测方面的部分研究结果,最后分析展望了进一步研究方向。
关键词: SAR    极化SAR    简缩极化SAR    星载SAR    船舶检测    
Spaceborne Compact Polarimetric Synthetic Aperture Radar for Ship Detection
Ji Kefeng, Wang Haibo①,②, Leng Xiangguang, Xing Xiangwei, Kang Lihong    
(College of Electronic Science and Engineering, National University of Defense Technology, Changsha 410073, China)
(The Armed Police Crops of Hubei No.1 Team, Wuhan 430071, China)
(Beijing Institute of Remote Sensing Information, Beijing 100092, China)
Foundation Item: The National Natural Science Foundation of China (61372163, 61331015, 61601035)
Abstract: Spaceborne Compact Polarimetric Synthetic Aperture Radar (CP SAR) is a new form of SAR, which has intrinsic advantages in maritime surveillance because it can obtain relatively rich polarimetric information of targets with wide swath. First, the basic modes and the development of a spaceborne CP SAR system are introduced in this paper with respect to ship detection applications. Second, typical methods of spaceborne CP SAR information processing are reviewed. Third, the attributes of frequently used methods for spaceborne CP SAR ship detection are analyzed and compared in depth. Fourth, the results of our research on spaceborne CP SAR ship detection are given. Finally, suggestions for further research on spaceborne CP SAR ship detection are proposed.
Key words: SAR    Polarimetric SAR    Compact Polarimetric SAR    Spaceborne SAR    Ship detection    
1 引言

合成孔径雷达(Synthetic Aperture Radar, SAR)具有全天时、全天候的成像工作能力,能获取包含丰富地物信息的图像,日益成为实现海上船舶目标监视的一种有效手段[1]。在海上船舶目标监视应用中,一方面由于海洋面积大、范围广,需要SAR具有更大的成像幅宽,实现广阔海洋中船舶目标的有效监视;另一方面,更大的幅宽意味着更大的SAR图像数据量,对数据的下传带宽及图像的存储和实时处理解译等也提出了更高的要求[2]。全极化SAR系统能够同时获取4个通道的数据信息,能够更加准确地描述地物特征。虽然丰富的信息量能够获取更多的目标结构信息,但是提高了SAR系统的设计复杂度,对天线设计、数据下传带宽和速率以及功率消耗等方面提出了更高的要求[3],从而影响到长时间、宽测绘带、高分辨数据的获取。双极化系统虽然能够提供两倍于全极化系统的幅宽,但减少了数据信息。为兼顾系统复杂度和信息获取能力,简缩极化(Compact Polarimetric, CP)[4]作为一种新兴的极化方式被提了出来。与全极化相比,简缩极化模式在系统结构复杂度较低的情况下仍然能够较好地保持地物信息,较全面揭示地物散射特性,而且能够提供更大的幅宽。

简缩极化SAR系统自提出以来,引起了各国研究者的广泛关注,国内外研究人员在多个领域进行了相关研究,主要包括森林参数反演[5, 6]、地物分类[7, 8]、海冰和溢油监测[9, 10]、海上船舶目标检测[11,12,13,14]等。系统简单、获取图像信息丰富及更宽测绘带的特点使得简缩极化SAR系统在海洋遥感[15,16,17]应用,尤其是在广阔的海洋地区船舶目标检测[11,12,13,14]中具有得天独厚的优势,国内外大量的学者也对此进行了积极的研究和探索,并取得了一些成果。本文针对星载简缩极化SAR海上船舶目标检测应用,首先简要介绍了星载简缩极化SAR系统基本模式及发展,其次综述了典型的星载简缩极化SAR信息处理方法,在此基础上,重点分析比较了目前常用的星载简缩极化SAR船舶目标检测方法的特点,然后给出了作者研究小组在星载简缩极化SAR船舶目标检测方面的部分研究结果,最后分析展望了进一步研究方向。

2 星载简缩极化SAR系统基本模式与发展

随着对简缩极化SAR系统基本理论研究的不断深入,简缩极化星载SAR系统也进入快速发展阶段,本节在介绍简缩极化SAR 3种典型基本模式基础上,总结了简缩极化星载SAR系统研究进展情况。

2.1 简缩极化SAR基本模式

简缩极化SAR只发射一路特定极化方式的电磁波(可为线极化波或圆极化波),同时接收两路正交极化波(可为线极化回波或圆极化回波信号)。从公开发表的文献来看,目前有3种典型的简缩极化方式:π/4模式(π/4 mode)[18]、双圆极化模式(Dual Circular Polarization, DCP)[19]和混合极化模式(Circular Transmit-Linear Receive, CTLR)[20, 21]。如表 1所示。

表 1 简缩极化SAR 3种典型基本模式 Tab.1 Three typical fundamental modes of CP SAR

2005年,Souyris等人[18]首次提出了π/4模式简缩极化SAR系统的概念,该系统发射一路方向为45°的线性极化信号,同时接收水平(H)和垂直(V)的两路正交极化信号;2006年,Stacy等人[19]提出了双圆极化的简缩极化模式,该系统只发射右旋或者左旋圆极化波,同时接收右旋和左旋圆极化波;2007年,Raney[20, 21]提出了混合极化的简缩极化模式,该系统发射右旋或者左旋圆极化波,同时接收水平(H)和垂直(V)的两路正交极化波。DCP模式和CTLR模式之间存在线性关系,可以相互转换[22]图 1为简缩极化SAR系统发射和接收示意图(以发射右旋极化波为例进行说明)[23]

图 1 简缩极化SAR系统发射和接收信号示意图 Fig.1 A sketch of signal transmission and reception in CP SAR systems
2.2 星载简缩极化SAR系统发展

简缩极化SAR系统的巨大应用潜力以及简缩极化SAR系统基本理论研究的不断深入直接推动了简缩极化星载SAR系统的研究与快速发展。目前典型的星载简缩极化SAR系统发展计划主要包括美国、加拿大、日本、印度、阿根廷等国家。

印度空间研究组织(Indian Space Research Organization, ISRO)于2008年10月22日发射了第1颗具有简缩极化模式的卫星--Chandrayaan-1[24],该卫星的Mini-SAR传感器采用S波段发射左旋圆极化波,接收水平和垂直的两路线极化波,这次任务的目的是对月球表面南北纬80°的区域进行测绘,系统预计服役2年,实际只使用了9个月。2012年4月26日,印度太空合作组织发射了其研制的第2颗具有简缩极化模式的SAR卫星--Risat-1[25],该卫星采用混合简缩极化模式,设计寿命5年,主要应用于农业规划、林业资源调查以及洪涝灾害检测等。日本宇宙航空研究开发机构(JAXA)研制的Advanced Land Observing Satellite-2 (ALOS-2)卫星[26]于2014年5月成功发射,采用L波段多极化模式,CTLR模式简缩极化,主要用于海冰、海上溢油和船舶检测等海洋监视领域。另外,美国、加拿大、阿根廷等国家也在积极加快简缩极化模式SAR卫星研制,阿根廷国家航天活动委员会(CONAE)的SAOCOM-1A计划,计划于2016年12月发射;加拿大空间局(Canadian Space Agency, CSA)的Radarsat Constellation Missions (RCM)[16],预计2018年发射;美国国家航空航天局(NASA)的DESDynI计划[27],计划于2021年发射。表 2列出了已发射和正在研制中的星载简缩极化SAR系统,图 2给出了典型星载简缩极化SAR系统示例。

表 2 已发射和正在研制中的星载简缩极化SAR系统 Tab.2 CP SAR systems in working and planned
图 2 典型星载简缩极化SAR系统示例 Fig.2 Typical spaceborne CP SAR systems
3 简缩极化SAR信息处理方法

与全极化相比,简缩极化SAR信息处理的主要难点在于极化信息量不够丰富。从目前已发表的文献及最新研究进展来看,简缩极化SAR信息处理主要基于两种途径[4]:一是对简缩极化SAR数据进行重建,近似恢复出全极化信息;二是直接对简缩极化SAR数据进行极化分解,再对分解后的极化特征参数进行处理。两种方法相比,第2种方法能够较好避免繁琐的重建过程和重建误差。

3.1 简缩极化SAR数据重建伪全极化信息

利用简缩极化SAR数据进行全极化信息重建是简缩极化SAR数据处理技术研究的重要内容之一。全极化信息重建的过程就是把简缩极化数据2×2的协方差矩阵重建恢复成3×3的全极化协方差矩阵,再利用全极化模式下较为成熟的信息处理方法进行数据处理和研究应用。该方法最大的优势在于全极化信息处理的方法研究较为广泛和成熟,可以直接对重建后的全极化信息进行处理。从国内外已发表的文献来看,Souyris, Nord, Collins和殷君君等人基于不同的理论分别提出了各自不同的重建全极化信息方法,并进行实验对比,验证了各自提出方法的有效性。

Souyris等人[18]对π/4模式的简缩极化进行了重建,具体步骤为:首先,将简缩极化协方差矩阵分解为共极化部分、交叉极化部分以及剩余部分3个矩阵的和。从分解后的结果来看,全极化信息的重建是利用已有的3个值来估计6个待重建参数的过程,没有确定解;其次,为了得到重建的固定解,Souyris利用了两个关系式,一是认为交叉极化通道与共极化通道之间完全不相干,即目标反射满足对称性假设;二是建立了辅助常数N与交叉极化功率、共极化功率以及共极化相关系数之间的经验关系式,通过实验总结得到参数N经验值为4;最后,基于这两种关系式,未知参数由6个减少为3个,使得方程有固定解,全极化协方差矩阵得以重建。Souyris针对π/4模式提出的方法对于森林、草地等植被覆盖茂密区域重建具有良好的效果,但是对于城市地区等较为复杂的区域重建效果不好,并不能完全反映该地区的全极化信息。在Souyris方法的基础上,Nord等人[28]提出了另外一种计算参数N的迭代方法,利用新的参数N进行二次重建结果更具有稳定性,但是Nord提出的重建模型计算时利用了Souyris重建方法中的初始化值,没有考虑初始值对参数N的影响,从而影响了参数N的计算取值。在此基础上,Nord等人还对DCP模式和CTLR模式下的简缩极化SAR重建模型进行了推导。

Collins等人[29]认为Souyris和Nord重建方法并不适用于所有地区,尤其是在海洋地区。为此,Collins等人建立了基于入射角θ的计算参数N的非线性经验模型,实验数据验证,Collins的重建模型在海洋地区改善了重建的效果。在此基础上,李裕等人[30]对参数N进行了修正,对海上溢油进行了检测。殷君君等人[14]利用Souyris重建方法中共极化和交叉极化相互关系的假设条件,提出了一种不满足反射对称性时的重建模型,并把该模型应用到船舶目标检测上。

从以上几种重建方法可以看出,简缩极化数据重建全极化协方差矩阵基于两个假设条件:一是反射对称性假设;二是采用了共极化、交叉极化与共极化相关系数之间的经验表达式。由于对不同的地区反射对称性假设不一定满足,因此,现有的几种重建模型都无法完全恢复出全极化信息,很难反映目标的真实极化信息。Reigber等人[31]也指出,重建过程就是基于一定的假设条件人为地把2×2的简缩极化协方差矩阵扩展成3×3的全极化协方差矩阵,整个重建过程中没有增加信息量,重建意义不大。

3.2 简缩极化分解方法

随着高分辨极化SAR的进一步发展,获取的图像中目标信息量更加丰富,有效利用目标散射特性和极化特性能够更好地提高目标分类精度和检测准确率,因此,对极化SAR数据直接进行分解提取极化特征或散射特征进行处理是更直接有效的方式。目前,简缩极化SAR分解主要有3种方法:一是m-δ分解和m-χ三分量分解;二是基于简缩极化SAR协方差矩阵H/α分解;三是基于分解模型的方法[23]

根据部分极化波二分理论[32],部分极化波可分为去极化波和完全极化波独立的两部分之和。在此基础上,Raney[20]提出了m-δ分解,将简缩极化协方差矩阵分解成完全极化和去极化两部分分量,m表示极化度,用来表征目标对电磁波散射的随机程度;δ为两个正交极化分量的相位差。基于m-δ分解,Charbonneau等人[22]提出了一种三分量的分解方法,将回波总功率分解为偶次散射、体散射和表面散射3种分量之和。Raney等人[33]定义了圆度χ(degree of circularity),提出了基于m-χ分解的三分量分解方法,圆度χ体现了表面散射和偶次散射在完全极化波中的比重。

对应于全极化中的H/α分解,基于简缩极化协方差矩阵的H/α分解方法较为简单,只是由全极化模式中的3维变为2维,计算量更小。郭睿等人[34]提出了一种改进的简缩极化SAR H/α分解方法,通过计算平面、二面角和偶极子的平面散射角α来区分不同的散射机制,并对简缩极化模式下的H/α平面进行划分,得到了简缩极化H/α特征空间,实验表明DCP模式下3种散射机制的分类识别效果要优于π/4模式。谢镭[23]定义了一个新参数ρ代替平均散射角α,提出了一种分析全极化模式和简缩极化模式下H/α分解结果之间关系的方法。

基于分解模型的简缩极化SAR分解方法的优势在于分解后的各分类物理意义较为明确。刘萌等人[35]将全极化模式下的Freeman-Durden分解模型转换到CTLR模式的简缩极化中,建立了极化总功率与体散射、偶次散射和表面散射之间的关系式。Cloude等人[36]基于RVoG模型,针对CTLR模式的简缩极化SAR数据,提出了m-αs分解,其中m表示极化度,αs依赖于极化椭圆率,并基于m-αs分解建立了对应的三分量分解。

尽管基于分解的简缩极化SAR数据处理方法已经应用在多个领域中,但是由于简缩极化协方差矩阵变为2维矩阵,信息量没有全极化SAR丰富,并不能完全反映目标的全极化的信息。

4 简缩极化SAR船舶目标检测方法

由于简缩极化SAR数据格式不同于全极化SAR数据,全极化模式下的船舶检测方法不完全适用于简缩极化模式,根据简缩极化数据处理方式的不同,综合现有文献,海上船舶目标检测主要可分为基于伪全极化信息重建、基于简缩极化分解和基于简缩极化特征参数3类方法。

4.1 基于伪全极化信息重建的简缩极化SAR船舶目标检测方法

从简缩极化数据重建伪全极化信息主要基于两个假设:一是反射对称性假设,认为交叉极化通道和共极化通道完全不相干,即${S_{{\rm{HH}}}}S_{{\rm{HV}}}^{\rm{*}} = {S_{{\rm{VV}}}}S_{{\rm{HV}}}^{\rm{*}} = 0$;另一个是共极化通道和交叉极化通道的关系式:

$\frac{{\left\langle {{{\left| {{S_{{\rm{HV}}}}} \right|}^{\rm{2}}}} \right\rangle }}{{\left\langle {{{\left| {{S_{{\rm{HH}}}}} \right|}^{\rm{2}}}} \right\rangle + \left\langle {{{\left| {{S_{{\rm{VV}}}}} \right|}^{\rm{2}}}} \right\rangle }} = \frac{{\left( {{\rm{1}} - \left| \rho \right|} \right)}}{N}$

海洋区域以表面散射为主,而Souyris[18]和Nord[28]重建方法不适用于表面散射为主的地区[37]。因此这两种方法的重建结果都不能真实反映海洋的极化信息,Collins等人[29]利用不同入射角的Radarsat-2全极化数据,选取了一组海上风速相同的实验区域,在验证满足反射对称的基础上,建立了基于入射角q的参数N均值$\bar{N}$的经验模型:$\bar{N}={{b}_{1}}+{{b}_{2}}\text{exp}(-{{\theta }^{{{b}_{3}}}})$。通过模拟CTLR模式的简缩极化SAR数据实验验证,Collins重建方法改善了重建的效果,并用于船舶目标检测,但由于船的大小、形状和方位不同,这个模型还不稳定,对海况和目标信息要求较高。

在Collins重建方法的基础上,Denbina[38]和Atteia[39, 40]分别对海上目标做了进一步研究,提出了各自改进的检测方法,并将简缩极化模式下的检测结果跟双极化、重建的伪全极化和全极化数据进行比较,对影响检测性能的一些因素进行了对比分析,如风速、图像分辨率等。Denbina采用Collins重建方法[29]进行重建,通过选取多景不同入射角的图像来计算参数N的平均值$\dfrac{{\, }}{\! N}$,以CTLR模式的简缩极化SAR数据为例,使用新参数N值进行全极化信息重建。重建后,选取500×500像素平静海面区域作为背景,计算出平均协方差的逆矩阵作为海面特征,利用基于Liu和Meek[41]提出的似然比检测方法,通过设定不同的阈值来检测冰川和船舶目标,对不同风速、不同入射角的多幅图像进行实验,结果表明提出的重建模型的检测效果对入射角依赖较大,当入射角介于23°-28°之间时,具有良好的检测效果,入射角大于28°时,检测效果好于双极化,跟全极化相当。Atteia[39]对Radarsar-2全极化图像研究发现,此数据下均值N的取值依赖于入射角,对Collins提出的重建方法进行修正,设定N值为$\bar{N}=7.68\times {{10}^{10}}{{\theta }^{-6.962}}$,对CTLR模式的简缩极化数据进行重建,最后利用似然比检测方法对船舶目标进行了检测。基于此重建模型,Atteia[40]利用模拟的双极化RCM图像,模拟可能用在RCM上的3种成像模式:低分辨率、高分辨率和船舶检测模式进行实验研究,分析了3种模式下入射角的大小对船舶检测的影响,并对检测性能进行了比较。Zhang[42]等采用两种不同的重建方法,利用非监督的分类方法对溢油和海面平台进行了检测,得出了共极化和交叉极化之间相对相位与海面散射机制之间可能的关系。

基于伪全极化信息重建的简缩极化SAR船舶目标检测方法,主要难点在于重建过程中使用的重建模型,目前还没有一种通用的模型。上述方法都是基于反射对称、共极化和交叉极化相互关系假设条件下的重建方法,由于目标区域不总是满足反射对称性,导致重建结果信息存在一定的错误或信息损失,从而影响到船舶目标检测的准确性。殷君君等人[43]提出了一种新的重建模型,跟Souyris和Nord重建方法不同的是该模型无需反射对称性假设。重建中利用了Souyris方法的共极化和交叉极化相互关系假设条件,在全极化四分量分解中认为体散射是一群混乱无序的散射状态的集平均,看作是完全非极化波,即$\rho = 0$,在此基础上对全极化的四分量分解进行了改进,利用修正的重建模型获得了伪协方差矩阵,再基于似然比检测进行船舶检测,修正后的重建模型提高了船舶检测的精度。

4.2 基于简缩极化分解的船舶目标检测方法

基于简缩极化分解的船舶检测方法通过利用海洋背景和船舶目标散射特性的差异实现船舶目标检测。殷君君[12]对CTLR模式下的简缩极化数据分别进行m-δ和m-χ分解,基于Radarsat-2实测数据对船舶检测后发现只利用三分量进行检测能够检测出大部分目标,但小目标存在漏检。Calgary大学的Allah[44]和Michael[45]分别用CTLR模式的简缩极化SAR对海上船舶目标检测进行了研究。Allah通过设定一个全局阈值筛选出候选目标,利用CAFR和似然比检测对候选目标初步检测,两种方法检测出的结果存在一定的虚警,最后用m-χ分解方法对分解得到的三分量PD, PV, PS进行排列组合得到8种组合,由于散射机制不同,目标、虚警和海洋背景分别对应不同的组合,以此进行虚警去除,取得较好的效果;Michael对入射角N模型进行研究发现,该模型适用于海洋图像的全极化信息重建,根据海洋和冰山目标的Stokes矢量及其推导出的其他参数,基于概率分布函数提出了改进的似然比检测器,把m-χ分解得到的分量PV和入射角θ作为特征向量,利用SVM分类器来区分船舶和冰山,取得了较好的效果。

4.3 基于简缩极化特征参数的船舶目标检测方法

简缩极化SAR信息量丰富,从中提取的一些极化特征参数对船舶目标与海洋背景都具有一定的区分度,从而可用于船舶目标检测。Shirvany等人[11, 37]利用Stokes矩阵参数获取到了简缩极化数据的极化度P,对海上的船舶、浮标和溢油目标进行检测,由于不同的目标在海洋地区的去极化度不同,通过对极化度或去极化度设置不同的阈值来区分船舶和浮标。殷君君[43]基于X-Bragg模型推导了简缩极化模式下的3个参数C, iBr,用于海上溢油和船舶检测,其中,C的取值表征不同的目标,在海洋和溢油区域C < 0,而对于船舶和低风速海洋区域则C>0; iB用来表征目标散射偏离布拉格散射的程度,r用来表征去极化效应。从全极化数据模拟CTLR模式下的简缩极化数据计算3个参数的近似值,实现了溢油和船舶的检测。Lu[46]等提出了一种基于特征的简缩极化SAR船舶检测方法,实现了船舶的检测。

综上,3类简缩极化SAR船舶目标检测方法各有优缺点,参见表 3。简缩极化数据重建伪全极化信息进行船舶检测的优势在于全极化模式下船舶检测研究较为成熟,可以使用全极化船舶检测的方法,但是重建过程基于一定的假设条件,容易造成误差,且计算迭代过程较为繁琐,需要较大的计算量。基于简缩极化数据分解的船舶检测方法利用目标和背景散射特性的差异进行检测,方法简单,运算量较小,但现有的简缩极化分解方法存在体散射过量估计的问题,对船舶检测准确率有一定影响。基于简缩极化模式下的极化特征参数进行船舶检测的方法,与重建方法和分解方法相比相对简单,但其参数的取值范围、物理意义等较全极化有所改变,如何对这些极化特征参数进行有效地优选组合以得到理想的船舶目标检测性能,还缺乏较为系统的理论支撑。

表 3 3类检测方法优缺点比较 Tab.3 Comparison between three detection methods
5 星载简缩极化SAR船舶目标检测部分研究结果

针对星载简缩极化SAR船舶目标检测,作者所在研究小组在伪全极化信息重建、极化特征参数提取与分析以及船舶目标检测等方面进行了研究,部分研究结果如下。

5.1 基于极化特征参数的星载简缩极化SAR船舶目标检测

与全极化相比,由于收发通道减少,因此简缩极化特征参数与全极化存在一定差别。针对星载简缩极化SAR海上船舶目标检测,作者在全极化及简缩极化SAR特征参数提取基础上,重点分析了其对船舶目标检测性能的影响[47]。常用的极化特征参数如表 4所示。

表 4 常用的极化特征参数 Tab.4 Conventional polarimetric features

实验基于直布罗陀海峡Radarsat-2全极化及其模拟的CTLR模式简缩极化SAR图像数据,其方位向和距离向距离均为8 m,人工判读包含7个船舶目标,如图 3所示。图 4图 5分别给出了基于不同极化特征参数的全极化与简缩极化SAR船舶目标CFAR检测结果,其中白色方框内为检测出的船舶目标,圆形框内为漏检的船舶目标。

图 3 直布罗陀海峡实验区域 Fig.3 Experimental data acquired over the strait of Gibraltar
图 4 全极化SAR极化特征参数CFAR检测结果 Fig.4 CFAR detection results using Quad-Pol SAR features
图 5 简缩极化SAR极化特征参数CFAR检测结果 Fig.5 CFAR detection results using CP SAR features

表 5进一步分别给出了全极化与简缩极化各个极化特征参数的CFAR检测结果统计。结合表 5,对比图 4图 5检测结果与图 3的模板图像可以看出,总体上对每种极化特征参数而言,简缩极化的检测性能接近于全极化,特别是对于极化总功率、共极化率、相似系数、极化度和极化熵等5个特征参数。另外,这里简缩极化的检测性能总体上接近于全极化,正是简缩极化SAR系统优点的充分体现。其次,每种极化特征参数的检测结果各不相同,有的极化特征参数的检测性能要优于其他特征参数。其中,共极化系数、极化度和极化熵检测结果相对较好,都能够检测出船舶目标,目标结构相对完整,但是都不同程度地存在虚警;平均散射角检测结果不存在虚警,但是存在漏检,目标形状保持不够完好;共极化率检测结果无论是从检测率还是品质因数,效果最差,而且其中船舶目标形状保持不够好。正是由于不同极化特征参数对船舶目标与海洋背景散射机理区分能力的不同直接决定了其船舶目标检测性能的差异。最后,虽然有的极化特征参数的检测性能要相对其他而言更好一些,但是没有单独的哪个极化特征参数可以得到理想的检测结果。因此对具体的简缩极化SAR船舶目标检测问题,还需对极化特征参数进行优选组合得到最优的极化特征参数集,以得到理想的船舶目标检测性能。

表 5 不同极化特征参数CFAR检测结果统计 Tab.5 Summary of CFAR detection results by using different polarimetric features
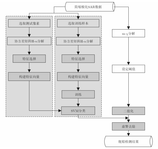
5.2 基于加权SVM与m-χ分解的星载简缩极化SAR船舶目标检测

由于单独采用单个极化特征参数对船舶目标进行检测无法得到理想的检测结果,因此作者所在研究小组进一步对多个极化特征参数进行优选,提出了一种基于加权SVM和m-χ分解的简缩极化SAR船舶检测方法[47]。该方法利用ReliefF算法对不同极化参数进行选择,构建最优特征向量,再利用SVM分类器进行船舶目标检测,最后利用海洋和船舶不同散射机制强度的差异对虚警和模糊噪声进行去除。其算法流程如图 6所示。

图 6 基于加权SVM和m-χ分解的星载简缩极化SAR船舶目标检测流程 Fig.6 Flowchart of the proposed CP SAR ship detection method based on weighted SVM and m-χ decomposition

分别采用NASA JPL AIRSAR机载全极化模式和加拿大Radarsat-2星载全极化模式等不同传感器数据,模拟CTLR模式下的简缩极化数据进行实验验证,图 7分别为NASA JPL AIRSAR东京湾区域和Radarsat-2温哥华海港区域的Pauli合成图。图 8图 9分别给出了NASA JPL AIRSAR东京湾区域和Radarsat-2温哥华海港区域不同算法的船舶目标检测结果,图中(a), (b), (c), (d)分别对应HH通道CAFR (HH-CFAR)、SVM、本研究小组提出的加权SVM和m-χ分解以及基于全极化数据SVM (QP-SVM)4种检测方法。

图 7 实验区域的Pauli合成图 Fig.7 Pauli RGB image of the experimental area
图 8 NASA JPL AIRSAR东京湾区域不同算法船舶检测结果 Fig.8 Comparison between results by different ship detection methods on Tokyo bay
图 9 温哥华海港实验区域不同算法船舶检测结果 Fig.9 Comparison between results by different ship detection methods on Vancouver harbor

图 8图 9可见,SVM方法和本研究小组提出的加权SVM方法都能够检测出船舶目标,但是SVM方法孤立点较多且存在严重的背景杂波引起的虚警。此外,由图 8可以看出,SVM方法检测结果目标结构不完整,船舶目标容易出现断裂的情况。与SVM方法相比,本研究小组加权SVM方法检测结果中没有虚警,并且船舶目标结构保持较完整,主要原因是该方法对特征向量进行优选,去除了相关性高和置信度小的特征向量,采用了优化的特征向量。另外,本研究小组方法与全极化检测结果相比,取得了与全极化数据相近的结果,简缩极化SAR在收发通道减少,信息量没有全极化SAR丰富的情况下,能够取得与全极化近似的结果,进一步验证了本研究小组方法的有效性,同时再一次充分体现了简缩极化系统在海洋遥感尤其是海上船舶目标检测中的优势和应用潜力。

6 结束语

作为一种新兴的星载极化SAR系统,简缩极化星载SAR因其能同时获取目标较丰富的极化信息和实现大幅宽观测,在海洋观测领域具有先天的优势。基于简缩极化星载SAR的海上船舶目标检测是当前海洋遥感领域中的研究热点之一,具有巨大的发展潜力和广阔的应用前景。目前,虽然国内外大量学者对星载简缩极化SAR船舶目标检测进行了积极的研究和探索,并取得了一些成果,但是关于星载简缩极化SAR船舶目标检测需要进一步深入研究的还有很多,主要包括以下几个方面:

(1) 深入研究分析海上船舶目标与海洋背景的极化散射机理。海上船舶目标与海洋背景的极化散射机理的差异是实现星载双极化、全极化以及简缩极化海上船舶目标检测的物理基础。受全极化特别是简缩极化星载SAR系统发展的限制,目前对海上船舶目标与海洋背景的全极化以及简缩极化散射机理的认知远远不够。下一步急需紧密结合星载极化SAR系统发展,从理论和实验两个方面充分加强对海上船舶目标与海洋背景的极化散射机理的研究分析与建模。

(2) 研究适用于海洋区域的伪全极化信息重建方法。现有的伪全极化信息重建方法是基于一定假设条件下的理论模型或者基于不同实验数据得到的经验模型,还很不完善,且不同重建方法的重建结果和性能各不相同,适用的地区和范围也不同,直接影响后续船舶目标检测研究,因此需要专门研究适用于海洋区域的伪全极化信息重建方法,为进一步实现海上船舶目标检测奠定基础。

(3) 研究有效的简缩极化特征参数提取与优选方法。极化特征参数在简缩极化SAR船舶目标检测中具有重要作用,合适的极化特征参数优化方法选取将大大提高船舶目标的检测性能。对于简缩极化SAR数据来讲,极化特征参数越多,包含的信息量就越丰富,但是过多的极化特征参数会使计算复杂度急剧增加,同时,过多的极化特征参数并不一定会取得更好的分类效果,船舶目标检测性能也不一定会得到提升。因此,如何选取合适数量、合适类型的极化特征参数,采用哪种算法及选择合适类型和数目的极化特征参数对于船舶目标检测显得至关重要,只有合理选取特征参数才能取得较为理想的检测结果。

参考文献
[1] 邢相薇, 计科峰, 康利鸿, 等. HRWS SAR图像舰船目标监视技术研究综述[J]. 雷达学报 , 2015, 4 (1) : 107-121 Xing Xiang-wei, Ji Ke-feng, Kang Li-hong, et al. Review of ship surveillance technologies based on High-Resolution Wide-Swath Synthetic Aperture Radar imaging[J]. Journal of Radars , 2015, 4 (1) : 107-121 (0)
[2] 郭睿.极化SAR处理中若干问题的研究[D]. [博士论文], 西安电子科技大学, 2012. Guo Rui. Study on several problems in polarimetric SAR processing[D]. [Ph.D. dissertation], Xidian University, 2012. http://cdmd.cnki.com.cn/Article/CDMD-10701-1013114227.htm (0)
[3] 杨汝良, 戴博伟, 李海英. 极化合成孔径雷达极化层次和系统工作方式[J]. 雷达学报 , 2016, 5 (2) : 132-142 Yang Ru-liang, Dai Bo-wei, Li Hai-ying. Polarization hierarchy and system operating architecture for polarimetric synthetic aperture radar[J]. Journal of Radars , 2016, 5 (2) : 132-142 (0)
[4] 张红, 谢镭, 王超, 等. 简缩极化SAR数据信息提取与应用[J]. 中国图象图形学报 , 2013, 18 (9) : 1065-1073 Zhang Hong, Xie Lei, Wang Chao, et al. Information extraction and application of compact polarimetric SAR data[J]. Journal of Image and Graphics , 2013, 18 (9) : 1065-1073 (0)
[5] Mascolo L, Lopez-Sanchez J M, Vicente-Guijalba F, et al. Retrieval of phenological stages of onion fields during the first year of growth by means of C-band polarimetric SAR measurements[J]. International Journal of Remote Sensing , 2015, 36 (12) : 3077-3096 DOI:10.1080/01431161.2015.1055608 (0)
[6] Sivasankar T, Srivastava H S, Sharma P K, et al. Study of hybrid polarimetric parameters generated from Risat-1 SAR data for various land cover targets[J]. International Journal of Advancement In Remote Sensing, GIS And Geography , 2015, 3 (1) : 32-42 (0)
[7] Aghabalaei A, Ebadi H, Maghsoudi Y. Forest cover classification using compact polarimetry data[J]. Journal of Geomatics Science and Technology , 2016, 5 (3) : 1-14 (0)
[8] Xie L, Zhang H, Li H, et al. A unified framework for crop classification in southern China using fully polarimetric, dual polarimetric, and compact polarimetric SAR data[J]. International Journal of Remote Sensing , 2015, 36 (14) : 3798-3818 DOI:10.1080/01431161.2015.1070319 (0)
[9] Zhang X, Dierking W, Zhang J, et al. Retrieval of the thickness of undeformed sea ice from C-band compact polarimetric SAR images[J]. The Cryosphere , 2016 DOI:10.5194/tc-10-1529-2016 (0)
[10] Collins M J, Denbina M, Minchew B, et al. On the use of simulated airborne compact polarimetric SAR for characterizing oil-water mixing of the deepwater horizon oil spill[J]. IEEE Journal of Selected Topics in Applied Earth Observations and Remote Sensing , 2015, 8 (3) : 1062-1077 DOI:10.1109/JSTARS.2015.2401041 (0)
[11] Shirvany R, Chabert M, Tourneret J Y. Ship and oil-spill detection using the degree of polarization in linear and hybrid/compact dual-pol SAR[J]. IEEE Journal of Selected Topics in Applied Earth Observations and Remote Sensing , 2012, 5 (3) : 885-892 DOI:10.1109/JSTARS.2012.2182760 (0)
[12] Yin J and Yang J. Ship detection by using the M-Chi and M-Delta decompositions[C]. 2014 IEEE International Geoscience and Remote Sensing Symposium (IGARSS), 2014: 2738-2741. (0)
[13] Atteia G and Collins M. Ship detection performance assessment for simulated RCM SAR data[C]. IGARSS 2014 IEEE International, 2014: 553-556. (0)
[14] Yin J, Yang J, and Zhang X. On the ship detection performance with compact polarimetry[C]. IEEE Radar Conference (RADAR), Kansas City, MO, USA, 2011: 675-680. http://www.oalib.com/references/17208251 (0)
[15] Li H, Perrie W, He Y, et al. Target detection on the ocean with the relative phase of compact polarimetry SAR[J]. IEEE Transactions on Geoscience and Remote Sensing , 2013, 51 (6) : 3299-3305 DOI:10.1109/TGRS.2012.2224119 (0)
[16] Dabboor M and Geldsetzer T. On the classification of sea ice types using simulated radarsat constellation mission (RCM) compact polarimetric SAR parameters[C]. ASPRS Annual Conference, Louisville, Kentucky, 2014. http://www.asprs.org/a/publications/proceedings/Louisville2014/ (0)
[17] Yin J J, Yang J, and Zhou Z S. New parameters in compact polarimetry for ocean target detection[C]. 2013 IET International Radar Conference, 2013: 1-6. (0)
[18] Souyris J C, Imbo P, Fjørtoft R, et al. Compact polarimetry based on symmetry properties of geophysical media: The π/4 mode[J]. IEEE Transactions on Geoscience and Remote Sensing , 2005, 43 (3) : 634-646 DOI:10.1109/TGRS.2004.842486 (0)
[19] Stacy N and Preiss M. Compact polarimetric analysis of X-band SAR data[C]. EUSAR 2006, 2006: 1-4. (0)
[20] Raney R K. Dual-polarized SAR and stokes parameters[J]. IEEE Geoscience and Remote Sensing Letters , 2006, 3 (3) : 317-319 DOI:10.1109/LGRS.2006.871746 (0)
[21] Raney R K. Hybrid-polarity SAR architecture[J]. IEEE Transactions on Geoscience and Remote Sensing , 2007, 45 (11) : 3397-3404 DOI:10.1109/TGRS.2007.895883 (0)
[22] Charbonneau F J, Brisco B, Raney R K, et al. Compact polarimetry overview and applications assessment[J]. Canadian Journal of Remote Sensing , 2010, 36 (Sup.2) : S298-S315 (0)
[23] 谢镭.简缩极化SAR图像分解及分类技术研究[D]. [硕士论文], 中国科学院大学, 2014. Xie Lei. Decomposition and classification for compact polarimetric SAR images[D]. [Master dissertation], University of Chinese Academy of Science. (0)
[24] Spudis D B J, Butler B, Carter L, et al.. Result of the Mini-SAR imaging RADAR, Chandrayyaan-1 Mission to the Moon[C]. 41st Lunar and Planetary Science Conference, 2010. (0)
[25] Misra T, Rana S S, Bora V H, et al.. SAR Payload of Radar Imaging Satellite (RISAT) of ISRO[C]. EUSAR 2006, 2006: 1-4. (0)
[26] Rosenqvist A, Shimada M, Suzuki S, et al. Operational performance of the ALOS global systematic acquisition strategy and observation plans for ALOS-2 PALSAR-2[J]. Remote Sensing of Environment , 2014, 155 (4) : 3-12 (0)
[27] Raney R K. DESDynI adopts hybrid polarity SAR architecture[C]. 2009 IEEE Radar Conference, 2009: 1-4. http://www.oalib.com/references/17208223 (0)
[28] Nord M E, Ainsworth T L, Lee J S, et al. Comparison of compact polarimetric synthetic aperture radar modes[J]. IEEE Transactions on Geoscience and Remote Sensing , 2009, 47 (1) : 174-188 DOI:10.1109/TGRS.2008.2000925 (0)
[29] Collins M J, Denbina M, Atteia G. On the reconstruction of quad-pol SAR data from compact polarimetry data for ocean target detection[J]. IEEE Transactions on Geoscience and Remote Sensing , 2013, 51 (1) : 591-600 DOI:10.1109/TGRS.2012.2199760 (0)
[30] Li Y, Zhang Y, Chen J, et al. Improved compact polarimetric SAR Quad-pol reconstruction algorithm for oil spill detection[J]. IEEE Geoscience and Remote Sensing Letters , 2014, 11 (6) : 1139-1142 DOI:10.1109/LGRS.2013.2288336 (0)
[31] Reigber A, Neumann M, Ferro-Famil L, et al.. Multi-baseline coherence optimisation in partial and compact polarimetric modes[C]. 2008 IEEE International Geoscience and Remote Sensing Symposium, 2008, 2: 597-600. http://www.oalib.com/references/17208215 (0)
[32] Lee J S, Pottier E著.洪文, 李洋, 尹嫱, 等译.极化雷达成像基础与应用[M].北京:电子工业出版社, 2013. Lee J S, Pottier E. Polarimetric Radar Imaging: From Basic to Applications[M]. Beijing: Publishing House of Electronics Industry, 2013. (0)
[33] Raney R K, Cahill J T S, Patterson G W, et al.. Characterization of lunar craters using m-χhi decompositions of Mini-RF radar data[C]. Lunar and Planetary Science Conference, 2012, 43: 2676. (0)
[34] Guo R, Liu Y B, Wu Y H, et al. Applying H/α decomposition to compact polarimetric SAR[J]. IET Radar, Sonar & Navigation , 2012, 6 (2) : 61-70 (0)
[35] 刘萌, 张红, 王超. 基于简缩极化数据的三分量分解模型[J]. 电波科学学报 , 2012, 27 (2) : 365-371 Liu Meng, Zhang Hong, and Wang Chao. Three-component scattering model for compact ploarimetric SAR data[J]. Chinese Journal of Radio Science , 2012, 27 (2) : 365-371 (0)
[36] Cloude S R, Goodenough D G, and Chen H. Compact decomposition theory[J]. IEEE Geoscience and Remote Sensing Letters , 2012, 9 (1) : 28-32 DOI:10.1109/LGRS.2011.2158983 (0)
[37] Shirvany R. Estimation of the degree of polarization in polarimetric SAR imagery: Principles and applications[D]. [Ph.D. dissertation], University of Toulouse, 2012. (0)
[38] Denbina M, Collins M J. Iceberg detection using compact polarimetric synthetic aperture radar[J]. Atmosphere-Ocean , 2012, 50 (4) : 437-446 DOI:10.1080/07055900.2012.733307 (0)
[39] Atteia G E, Collins M J. On the use of compact polarimetry SAR for ship detection[J]. ISPRS Journal of Photogrammetry and Remote Sensing , 2013, 80 : 1-9 DOI:10.1016/j.isprsjprs.2013.01.009 (0)
[40] Atteia G, Collins M. Ship detection performance using simulated dual-polarization RADARSAT constellation mission data[J]. International Journal of Remote Sensing , 2015, 36 (6) : 1705-1727 DOI:10.1080/01431161.2015.1019017 (0)
[41] Liu C and Meek A. Likelihood ratio test polarimetric SAR ship detection application[R]. Defence Research and Development Canada Ottawa (ONTARIO), 2005. http://oai.dtic.mil/oai/oai?verb=getRecord&metadataPrefix=html&identifier=ADA455098 (0)
[42] Zhang B, Li X, Perrie W, et al.. Marine oil slick and platform detection by compact polarimetric synthetic aperture radar[C]. 2016 IEEE International IGARSS, 2016: 4031-4034. (0)
[43] Yin J, Yang J, Zhou Z S, et al. The extended bragg scattering model-based method for ship and oil-spill observation using compact polarimetric SAR[J]. IEEE Journal of Selected Topics in Applied Earth Observations and Remote Sensing , 2015, 8 (8) : 3760-3772 DOI:10.1109/JSTARS.2014.2359141 (0)
[44] Allah A and Mohamed G E. On the use of hybrid compact polarimetric SAR for ship detection[D]. Canada, University of Calgary, 2014. http://theses.ucalgary.ca/jspui/handle/11023/1955 (0)
[45] Michael Denbina. Iceberg detection using compact polarimetric synthetic aperture radar[D]. Canada, University of Calgary, 2014. http://theses.ucalgary.ca/handle/11023/1946 (0)
[46] Xu L, Zhang H, Wang C, et al.. A feature-based ship detection method for compact polarization SAR image[C]. Proceedings of EUSAR 2016: 11th European Conference on Synthetic Aperture Radar, 2016. (0)
[47] 王海波.基于星载简缩极化SAR的海上舰船目标检测方法研究[D]. [硕士论文], 国防科技大学, 2016. Wang Haibo. Research on the methods of maritime ship detection based on spaceborne copmact polorimetric SAR imagery[D]. [Master dissertation], National University of Defense Technology, 2016. (0)